Ring Doorbell Setup Guide, Follow these steps to set up your Ring video doorbell in the Ring app. Is your doorbell Battery-powered? Even if you are planning to hardwire your doorbell to a power source, we recommend fully charging the battery before getting started with setup. If you’re setting up a Wired doorbell, you can skip to the next step.
Follow these steps to set up your Ring video doorbell in the Ring app.
Pre-Setup: Charge your doorbell’s battery
Is your doorbell Battery-powered? Even if you are planning to hardwire your doorbell to a power source, we recommend fully charging the battery before getting started with setup.
If you’re setting up a Wired doorbell, you can skip to the next step.
Learn how to charge the battery
Ring Doorbell Setup Guide
Step 1: Download the Ring app
(for iOS devices) or the
(for Android devices).
Alternatively, visit ring.com/app on your mobile device.
Step 2: Create or log in to your Ring account
If this is your first Ring product, you will be asked to set up an account.
To set up an account:
Create Account
.
Learn more about creating a Ring account
Step 3: Setting up your doorbell
Setting up a Wired doorbell? You’ll need to physically install your doorbell first, before setting up in the Ring app. Follow the instructions in the app, the user manual, or see Ring’s installation guides for more help.
Setup and Scanning the QR code
Set Up a Device
.
Doorbells
.
I’m Ready to Scan
and scan the QR code with your mobile device. A green square will appear when successfully scanned.
Adding your location and choosing a name
Custom
to create one.
Connecting to wifi
The button is on the back of the device.
The button is on the front of the device.
Having trouble connecting to the Ring wifi network?
Settings
.
Wi-Fi
to access your Wi-Fi settings.
Ring-
or
Ring Setup
(followed by a set of letters and numbers) wifi network.
Setup complete and customization
While updating, you can continue setup in the Ring app to customize your device.
Troubleshooting doorbell setup
My doorbell is not connecting to my wifi network.
see our flashing light patterns guide
for more information.
I don’t see my wifi network on the list.
My doorbell is not going into setup mode.
If you are still having trouble with setup, please contact our Customer Support Team.
.
Installing Your Wired Doorbell Pro
Install your Wired Doorbell Pro with these step-by-step instructions.
Video Doorbell Pro 2 changed its name to Wired Doorbell Pro.
All the great features of your Video Doorbell Pro 2 are still the same. If you purchased a Wired Doorbell Pro, you can use instructions for Video Doorbell Pro 2.
Bag A
Bag B
Bag C
Bag D
Step One – Find your doorbell chime
Your Wired Doorbell Pro is designed to replace an existing doorbell button and gets its power from the doorbell system. Ring your existing doorbell and listen for the chime. If it rings, you know your existing doorbell system is working.
Follow the sound to find your chime and make a mental note of the location. We’ll return to your chime soon.
Note: Don’t have an existing doorbell? You can power your Wired Doorbell Pro directly using our Plug-in Adapter. Click here for more information.
Step Two – Turn off power at the breaker
WARNING: Electrical shock hazard. Disconnect power to installation area at your circuit breaker or fuse box before beginning installation. Always use caution when handling electrical wiring.
Installation by a qualified electrician may be required in your area. Refer to your local laws and building codes before performing electrical work; permits plus professional installation may be required by law.
This is essential to keeping you and your new Ring video doorbell safe. If you’re not sure which breaker controls your doorbell chime, turn off the master breaker for your home or contact an electrician.
Note: CAUTION! You’ll be working with electrical wires during the install process. If you are uncomfortable or inexperienced in doing so, consult with a qualified electrician.
Step Three – Grab the included Pro Power Kit
The Pro Power Kit ensures that your Ring video doorbell gets the power it needs and must be installed before you install your video doorbell.
Your Ring video doorbell is compatible with doorbell systems supplying 16-24 volts VAC at 50 or 60Hz, 40 VA max, The AC connector is a Class 2 energy source.
Note: If you already have an existing Pro Power Kit installed, you must remove it and use the new one included with your new doorbell.
Step Four – Remove the cover from your doorbell chime
After you’ve located your doorbell chime and turned off the power at the breaker, remove the cover from your chime and set it aside for now.
Step Five – Loosen the “Front” and “Trans” terminal screws
Make sure to keep the existing doorbell wires in place.
Step Six – Connect the Pro Power Kit wires
Connect one wire from the Pro Power Kit to the “Front” terminal and the other to the “Trans” terminal. It doesn’t matter which wire you connect to which terminal.
Then re-tighten the terminal screws.
View wiring diagrams for wired doorbell setup
Step Seven – Position the Pro Power Kit and replace the cover
Place it within your internal doorbell, away from any moving parts.
Step Eight – Uninstall your existing doorbell button
Remove your doorbell from the wall. Disconnect the wires. Make sure they don’t fall back inside your wall so you can access them later.
Step Nine – Remove the faceplate
Gently pull the faceplate off the unit by pulling it from the lower edge of the plate.
Note: The faceplate should pop off easily, do not use excessive force.
Step Ten – Mark the screw holes
Using your Ring video doorbell as a template, mark the location of the two mounting holes on the wall. For optimal performance, mount your doorbell 48 inches from the ground.
Step Eleven – Install the anchors (optional)
On stucco, brick, or concrete, use a 1/4″ (6mm) masonry bit to drill holes in your wall, then insert the included wall anchors.
Note: If you’re installing on wood or siding, you can skip this step.
Step Twelve – Connect the doorbell wires
Loop one doorbell wire around each of the screw terminals on the rear of your Ring video doorbell the tighten the terminals to secure.
If your doorbell wires are too short to reach your new Ring video doorbell, you can attach the included wire extenders using the included wire nuts
Step Thirteen – Screw in your Ring video doorbell
Mount your Ring video doorbell with the two included mounting screws. If you ran the wire through your wall, be sure to feed any excess wiring into the wall first.
Note: DO NOT USE any screw other than the included mounting screw when securing your Ring video doorbell.
Step Fourteen – Restore power at the breaker
It may take a moment for your Ring video doorbell to power on. You’ll know it’s ready when it lights up and speaks to you.
Step Fifteen – Secure your Ring video doorbell
Re-attach the faceplate, then use the included screwdriver to drive the small security screw into the bottom of your Ring video doorbell.
Note: CAUTION! – If you use the wrong screws to secure the Ring Wired Doorbell Pro, you could damage the device, create a fire hazard, and be seriously injured.
Download the user manual for Wired Doorbell Pro (formerly Video Doorbell Pro 2).
Installing Ring Battery Doorbell Pro
Ring Battery Doorbell Pro manual
Download or view the Ring Battery Doorbell Pro manual (English, Français, Deutsch, Italiano, Español, Nederlands, Svenska, Dansk, Suomi, Norsk, العربية) before starting to install your device.
Upgrading from an older Ring Video Doorbell?
Battery Doorbell Pro is compatible with all Ring Video Doorbell 3, 3 Plus and 4 accessories, including:
Learn more about compatible accessories for your Ring device(s).
Safety information
For your safety, only use an existing doorbell transformer within the range specified below or compatible Ring accessories to power your device. To connect to an existing doorbell system:
Ring power accessories are sold separately and may include:
Using incompatible power sources can damage your device and cause electric shock.
Getting ready to install your Ring Battery Doorbell Pro
Hardware and tools
Make sure you have all the tools you’ll need to install your Ring Battery Doorbell Pro.
Hardware includes:
Tools include:
Tools needed:
Installing your Ring Battery Doorbell Pro — Quick Start
Download the Ring app.
Get the latest version of the Ring app to ensure you have access to new features and other in-app tools. To set up your devices:
Ring app
.
menu (☰).
Set Up a Device
.
Remove protective film from device. This ensures your device works properly.
Remove the faceplate and fully charge the battery.
Choose a location for your doorbell.
For the best results, mount the doorbell about 4 feet (1.2 meters) above the ground. If you want to angle the doorbell down for a better view, Wedge Kits are available at ring.com/accessories.
Install your doorbell without connecting to an existing chime
Optional: Install the corner mount.
If installing on a wood surface, screw the bracket directly into the wall.
If installing on a masonry surface, mark two screw holes using the bracket as a guide:
WARNING! Only use the included corner bracket screws when securing the corner bracket.
CAUTION! Do not drill or drive screws into your home’s electrical wiring.
Optional: Mount your doorbell to the wall or corner bracket.
Remove the short mounting screws from Bag A.
If installing on a wood surface, screw the doorbell directly into the wall.
If installing on a masonry surface, mark 4 screw holes using the doorbell as a guide:
If using a corner mount, use the short bracket screws from Bag C to secure your doorbell to the bracket.
WARNING! Only use the included corner bracket screws when securing the corner bracket.
WARNING! Only use the included wall mounting screws when securing the doorbell.
CAUTION! Do not drill or drive screws into your home’s electrical wiring.
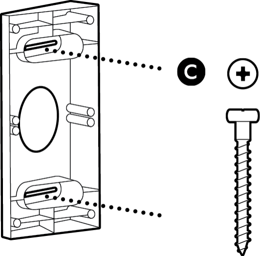
3. Insert the battery and secure the faceplate.
CAUTION! If you use the wrong screws to secure the faceplate, you could damage the battery during installation, create a fire hazard, and be seriously injured.
DO NOT USE any screw other than the included short security screws when securing the faceplate. Lastly, use the included screwdriver to insert and tighten one of the security screws from Bag B.
Your Ring doorbell is now ready to use.
Install your doorbell and connect to an existing chime
Your battery doorbell can be hardwired to work with your home’s existing chime. Before you start installing your doorbell, turn off power at the consumer unit. If you’re not sure which switch controls your doorbell, turn off your home’s main switch or contact an electrician.
Once power is turned off, remove your existing doorbell button from the wall and disconnect the wires. Your Ring doorbell is compatible with doorbell systems supplying 8 to 24 VAC at 50/60Hz, 5VA to 40VA.
For your safety, only use an existing doorbell transformer within the range specified above or DIN Rail Transformer (24Vdc, 420mA) to power your device.
Using incompatible power sources can damage your device and cause electric shock.
CAUTION! You’ll be working with electrical wires during the install process. If you are uncomfortable or inexperienced with doing so, consult with a licensed electrician. Do not wire your Ring doorbell to a DC-powered intercom system.
Optional: Install the corner mount. Then, install your doorbell on the corner mount.
If installing on a wood surface, screw the bracket directly into the wall.
If installing on a masonry surface, mark two screw holes using the bracket as a guide:
WARNING! Only use the included corner bracket screws when securing the corner bracket. CAUTION! Do not drill or drive screws into your home’s electrical wiring.
Optional: Mount your doorbell to the wall.
Remove the short mounting screws from Bag A.
If installing on a wood surface, screw the doorbell directly into the wall.
If installing on a masonry surface, mark four screw holes using the doorbell as a guide:
WARNING! Only use the included corner bracket screws when securing the corner bracket.
WARNING! Only use the included wall mounting screws when securing the doorbell.
CAUTION! Do not drill or drive screws into your home’s electrical wiring.
3. Insert the battery and secure the faceplate.
CAUTION! If you use the wrong screws to secure the faceplate, you could damage the battery during installation, create a fire hazard, and be seriously injured.
DO NOT USE any screw other than the included short security screws when securing the faceplate. Lastly, use the included screwdriver to insert and tighten one of the security screws from Bag B.
Your Ring doorbell is now ready to use.
Ring doorbell setup, Ring doorbell installation guide, how to set up Ring doorbell, Ring doorbell setup steps, Ring doorbell setup app, Ring doorbell setup Wi-Fi, Ring doorbell setup instructions, Ring doorbell setup video, Ring doorbell setup troubleshooting, Ring doorbell setup without app, Ring doorbell setup manual, Ring doorbell setup process, Ring doorbell setup for beginners, Ring doorbell setup wired, Ring doorbell setup wireless,
Ring doorbell setup with phone, Ring doorbell setup with Alexa, Ring doorbell setup tips, Ring doorbell setup errors, Ring doorbell setup support, Ring doorbell setup new user, Ring doorbell setup step-by-step, Ring doorbell setup guide pdf, Ring doorbell setup without QR code, Ring doorbell setup with existing account, Ring doorbell setup for motion detection, Ring doorbell setup for live view, Ring doorbell setup for two-way audio, Ring doorbell setup for home security, Ring doorbell setup for remote access.






























